 |
脱硫硫酸铵氢尿酸硼酸专用离心机
主电机带动套装的内、外转鼓全速旋转,物料由进料管连续引入,均匀分布到内转鼓内段滤网壁上,在离心力作用下,液相物穿过滤网和转鼓壁滤孔排出,经排液管排出机外,固相物截留在内转鼓形成环形滤饼层。内、外转鼓同速旋转的同时,在活塞推动下,内转鼓连续轴向往复运动,因而推料盘推动内转鼓滤饼...
更新:2019-01-09
|
|
 |
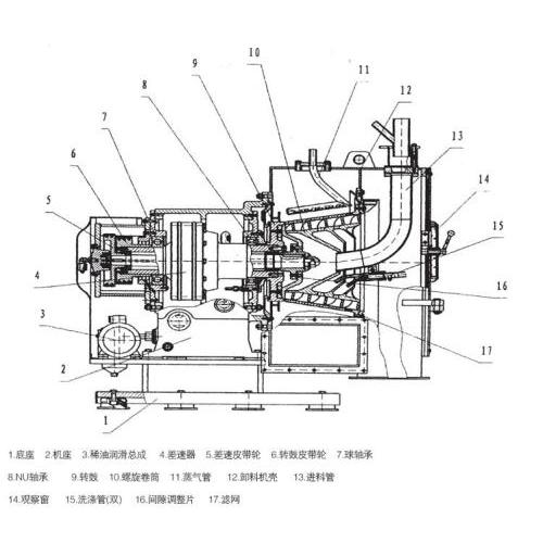
HR卧式双级活塞推料离心机
主电机带动套装的内、外转鼓全速旋转,物料由进料管连续引入,均匀分布到内转鼓内段滤网壁上,在离心力作用下,液相物穿过滤网和转鼓壁滤孔排出,经排液管排出机外,固相物截留在内转鼓形成环形滤饼层。内、外转鼓同速旋转的同时,在活塞推动下,内转鼓连续轴向往复运动,因而推料盘推动内转鼓滤饼...
更新:2019-01-09
|
|
 |
LWL卧式螺旋卸料筛网式离心机
LWL型离心机是一种卧式螺旋卸料、连续操作的过滤设备。转鼓与螺旋以一定差速同向高速旋转,物料由进料管连续引入输料旋内筒,加速后进入转鼓,在离心力场作用下,液相穿过过滤介质排出机外,固相物截留在转鼓内形成滤渣,滤渣在离心力的锥面分力和输料螺旋的共同作用下,连续不断地向转鼓大端移动排...
更新:2019-01-09
|
|
 |
纤维素硫代硫酸钠粗盐专用离心机
lwl系列为卧式螺旋卸料过滤式离心机,该机运转平稳,洗涤效果好,处理能力大,经济效率高,它在全速运转时对县浮淮进行自动连续地进料、洗涤、脱水和卸料。是固液分离中高效的分离设备。该机适用于化工、制药、食品、冶金、矿山等行业固液分离,分离县浮液固相在10%-80%固相颗粒直径在0.05-5mm(0.2-...
更新:2019-01-09
|
|
 |
硫酸镁七水硫酸锌硫氢酸钠专用离心机
悬浮液从进料管进入螺旋内腔,并通过螺旋小头接近锥端底部的喷料口进入转鼓,在离心力场作用下料浆中的液相通过设置在转壁上的筛网被分离出去,固相颗粒则 被截留在转鼓内:同时,转鼓内的固相颗粒在离心力和螺旋与转鼓之间的差速作用下从转鼓小端向转鼓大端运动,在此运动过程中,由于回转直径的加...
更新:2019-01-09
|
|
 |
LLW卧式螺旋卸料离心机
LLW型离心机是一种卧式螺旋卸料、连续操作的过滤设备。转鼓与螺旋以一定差速同向高速旋转,物料由进料管连续引入输料旋内筒,加速后进入转鼓,在离心力场作用下,液相穿过过滤介质排出机外,固相物截留在转鼓内形成滤渣,滤渣在离心力的锥面分力和输料螺旋的共同作用下,连续不断地向转鼓大端移动排...
更新:2019-01-09
|
|
 |
PLD平板自动刮刀下部卸料拉袋式离心机
拉袋离心机在转鼓底的外侧套装有内缸筒和导向筒,外缸筒活动安装在内缸筒和导向筒之间,缸盖及拉袋板的一端均与外缸筒固定连接,拉袋板的另一端与滤袋的下端相连接;弹簧的上端与外缸筒的上端相连接,弹簧的下端设置在活塞上,活塞与内缸筒相固定;在内缸筒的侧壁上设置有气孔,气孔位于活塞与缸盖...
更新:2019-01-09
|
|
 |
硫酸铵氯化铵氯化钠废盐专用离心机
悬浮液从进料管进入螺旋内腔,并通过螺旋小头接近锥端底部的喷料口进入转鼓,在离心力场作用下料浆中的液相通过设置在转壁上的筛网被分离出去,固相颗粒则被截留在转鼓内;同时,转鼓内的固相颗粒在离心力和螺旋与转鼓之间的差速作用下从转鼓小端向转鼓大端运动,在此运动过程中,由于回转直径的加...
更新:2019-01-09
|
|
 |
无水硫酸钠甲酸钠焦亚硫酸钠专用离心机
LLW型离心机是一种卧式螺旋卸料、连续操作的过滤设备。转鼓与螺旋以一定差速同向高速旋转,物料由进料管连续引入输料旋内筒,加速后进入转鼓,在离心力场作用下,液相穿过过滤介质排出机外,固相物截留在转鼓内形成滤渣,滤渣在离心力的锥面分力和输料螺旋的共同作用下,连续不断地向转鼓大端移动排...
更新:2019-01-09
|
|
| 还没找到想要购买的产品吗?尝试免费发布求购信息,让供应商主动找上门! |
|
|
|
| 推荐金牌会员 |
 |
 |
| 《中工科技-离心机网》客服热线: |
| 0571-28926072 |
|
| 《中工科技-离心机网》客服QQ: |
| 189990251 |
您可以给我们留言,寻求帮助。
我们会在一个工作日内给您回复! |
 |
|
|
 |
|